Cara Kerja Feed Pump System Bahan Bakar Diesel, Beserta Ilustrasinya!!
Fungsi, Komponen dan Cara Kerja Feed Pump Dalam System Bahan Bakar Mesin Diesel,-Salah satu komponen dalam sistem bahan bakar diesel yaitu priming pump atau feed pump, feed pump berfungsi untuk menghisap bahan bakar dari fuel tank, yang kemudian menekannya melalui saringan bahan bakar ke ruang pompa injeksi. Pompa ini disebut sebagai feed (pemberi) karena memang tugasnya adalah untuk menyediakan bahan bakar agar selalu siap sedia untuk pompa injeksi.
![]() |
| Gb. Feed Pump atau Priming Pump Pada Sistem Bahan Bakar Diesel |
Kedua-duanya menggunakan feed pump yang berbeda, dan berikut ini adalah gambar kontruksi feed pump pada pompa injeksi tipe inline.
Feed pump dalam sistem bahan bakar diesel berfungsi untuk menghisap bahan bakar dari tangki dan menekan bahan bakar ke pompa injeksi yang melalui filter solar untuk disaring terlebih dahulu.
Feed pump ini terpasang pada pompa injeksi, digerakkan oleh camshaft (poros nok). Di dalam feed pump (priming pump) terdapat bagian yang berguna untuk mengeluarkan udara dari sistem bahan bakar. Biasanya ini dilakukan selepas pembongkaran atau pada saat terjadi trouble pada pompa injeksi bahan bakar mesin diesel.
Alasan yang mengharuskan adanya feed pump yaitu karena pada ruang bahan bakar pompa injeksi harus terus menerus terisi bahan bakar dalam jumlah yang cukup, akan tetapi pompa injeksi tersebut tidak dapat memberikan bahan bakar yang cukup pada saat rpm tinggi. Oleh sebab itulah diperlukan feed pump, yang munsuply bahan bakar ke pompa injeksi. Agar dapat mensuply dengan baik tekanan pengaliran bahan bakar berada di kisaran 1,8 - 2,2 kg/cm3 (25-31 psi, 177-216 kpa). Apabila tekanan bahan bakarnya berada dibawah standar, maka elemen pompa tidak mampu memberikan bahan bakar yang cukup untuk memenuhi kebutuhan mesin, terutama pada saat kecepatan tinggi.
Priming Pump Pada Pompa Injeksi Tipe Distributor
![]() |
| Gb. Konstruksi Priming Pump Pada Pompa Diesel Tipe Distributor |
Cara Kerja Priming Pump Pada Pompa Injeksi Tipe Distributor
A. Saat Pompa Ditekan
![]() |
| Gb. Pada saat pump handle priming pump di tekan |
B. Saat Pompa dilepas
![]() |
| Gb. Pada Saat Pump Handle priming pump di Lepas |
Priming Pump Pada Pompa Injeksi Tipe In-Line
![]() |
| Gb. Konstruksi Priming Pump Pada Pompa Injeksi Tipe In-Line |
Cara Kerja Priming Pump Pada Pompa Injeksi Tipe In-Line
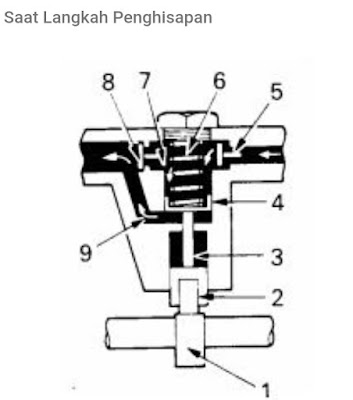
Keterangan :
1. Camshaft
2. Tappet roller
3. Push rod
4. Piston
5. Inlet valve
6. Piston spring
7. Pressure chamber
8. Outlet valve
9. Pressure chamber
A. Langkah Penghisapan Bahan Bakar
Pada saat ini camshaft (1) tidak mendorong tappet roller (2) sehingga piston (4) akan terdorong kebawah menekan push rod (3) karena tegangan piston spring (6)
Pada saat ini, hal ini menyebabkan volume pada pressure chamber (7) akan membesar dan membuka inlet valve (5) untuk menghisap bahan bakar. Pada saat ini outlet valve (8) tertutup.
B. Langkah Penekanan Bahan Bakar
![]() |
| Gb. Saat Langkah Pengeluaran Pada Priming Pump |
Baca Juga: Begini Cara Kerja Injektor Nozzle Pada Mesin Diesel
C. Saat Tekanan Tinggi
Sebagian bahan bakar yang dikeluarkan memasuki pressure chamber (9) yang terletak di belakang piston. Bila tekanan bahan bakar (tekanan pengeluaran) di belakang piston naik mencapai 1,8 - 2,2 kg/cm3 (25-31 psi, 177 - 261 kpa) maka tegangan pegas tidak cukup kuat untuk menurunkan piston. Akibatnya piston tidak dapat lagi bergerak bolak-balik dan feed pump berhenti bekerja.
![]() |
| Gb. Saat Tekanan Tinggi Pada Priming Pump |
Demikian ulasan kami tentang Fungsi, Komponen dan Cara Kerja Feed Pump Dalam System Bahan Bakar Mesin Diesel, semoga dapat menambah wawasan kita semua, jangan lupa kunjungi juga artikel pilihan kami berikut ini.







